В Комитете административной полиции МВД Казахстана разъяснили, куда разрешено вешать видеорегистратор, и за что могут выписать штраф, передает корреспондент Tengrinews.kz.
Согласно пункту правил дорожного движения, эксплуатация транспортных средств запрещается, если в авто установлены дополнительные предметы, ограничивающие обзорность с места водителя. Другой пункт ПДД гласит, что управление ТС, не отвечающим установленным правилам обеспечения безопасности дорожного движения, влечет штраф в размере 5 МРП (9260 тенге). Таким образом, полицейский может оштрафовать водителя за любой предмет, закрепленный на лобовом стекле или находящийся перед лобовым стеклом, который ограничивает обзорность с места водителя.
Однако в документе имеется примечание: на верхней части ветрового стекла допускается использование полосы прозрачной цветной пленки шириной не более 140 миллиметров. Также допускается применять шторки на окнах автобусов, жалюзи и шторки на задних стеклах легковых автомобилей.
Между тем в комитете рассказали, что МВД республики приняло участие в разработке Технического регламента ТС "О безопасности колесных транспортных средств", в котором указаны требования к автомобилям в отношении их передней обзорности. Документ вступает в силу с 1 января 2015 года. .jpg)
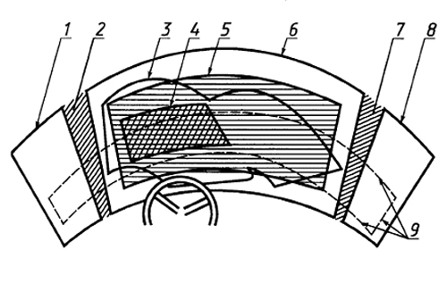
Обозначения: 1 - граница прозрачной части левого бокового окна, 2 - левая боковая стойка переднего окна, 3 - контур очистки переднего окна, 4 - граница нормативной зоны А, 5 - граница нормативной зоны Б, 6 - граница прозрачной части переднего окна, 7 - правая боковая стойка переднего окна, 8 - граница прозрачной части правого бокового окна, 9 - следы от плоскостей, являющихся границами нормативного поля обзора П.
Согласно требованиям техрегламента ТС, в поле обзора П (смотрите рисунок) допускается попадание технических средств, расположенных внутри кабины. Однако устройства, в том числе и видеорегистраторы, должны позволять водителю "без затруднений, не отвлекаясь от управления, освобождать от них поле обзора П. То есть прибор должен легко сниматься с ветрового стекла. Кроме этого, точки крепления технических средств не должны находиться в зонах А, Б и поле обзора П. Иными словами, видеорегистратор может "залезать" на поле П, но крепиться должен в другом месте.
Вместе с тем, в комитете отметили, что сейчас видеорегистраторами начинают пользоваться все больше казахстанских водителей. Поэтому сотрудники правоохранительных органов, увидев нарушение в неправильном расположении технического устройства на ветровом стекле, будут сначала предупреждать и разъяснять правила. И только при повторном нарушении водителя оштрафуют.
"Учитывая, что данная ситуация по установке видеорегистраторов наблюдается повсеместно, и соответственно, принятие мер административного характера вызывает конфликтные ситуации между владельцами автомобилей и сотрудниками полиции, Министерством внутренних дел направлено указание в территориальные подразделения о принятии к каждому владельцу соответствующего авто мер предупредительного характера с разъяснением правильного и безопасного расположения указанных технических средств", - заявили в Комитете административной полиции.
Напомним, что недавно водителя в Петропавловске оштрафовали за наличие видеорегистратора в салоне машины. Он пытался оспорить штраф, но суд в удовлетворении жалобы ему отказал. Постановление о привлечении его к административной ответственности за видеорегистратор на ветровом стекле было оставлено без изменения.